Подать статью
Стать рецензентом
Том 272
Страницы:
100-109
Скачать том:
RUS ENG

Лабораторные исследования особенностей гидравлического разрыва пересекающихся скважин в неоднородном поле напряжений

Авторы:
А. В. Патутин1
А. А. Скулкин2
Л. А. Рыбалкин3
А. Н. Дробчик4
Об авторах
  • 1 — канд. техн. наук старший научный сотрудник Институт горного дела им. Н.А.Чинакала СО РАН ▪ Orcid
  • 2 — младший научный сотрудник Институт горного дела им. Н.А.Чинакала СО РАН ▪ Orcid
  • 3 — канд. техн. наук научный сотрудник Институт горного дела им. Н.А.Чинакала СО РАН ▪ Orcid
  • 4 — инженер-исследователь Институт горного дела им. Н.А.Чинакала СО РАН ▪ Orcid
Дата отправки:
2023-10-02
Дата принятия:
2024-11-07
Дата публикации онлайн:
2025-03-20
Дата публикации:
2025-04-25

Аннотация

Рассмотрены особенности распространения трещины гидроразрыва в пересекающихся скважинах, созданных в блоках полиметилметакрилата в неоднородном поле напряжений. В качестве рабочего флюида использовался водный раствор глицерина и пластилин. Согласно линейной механике разрушения, наличие концентратора напряжений в месте пересечения скважин способствует началу процесса трещинообразования в этой области, а дальнейшее распространение трещины происходит в плоскости, содержащей их оси. Актуальность работы обусловлена поиском новых подходов и разработкой технологических решений по эффективному созданию продольной трещины в массиве горных пород в неблагоприятном для ее развития поле напряжений. Приведена схема работы лабораторного стенда, а также общий вид герметизирующих устройств, использующихся для изолирования заданного интервала при выполнении испытаний. Получены зависимости давления глицерина от времени закачки и определена величина давления разрыва в блоках. Исследована форма трещин, образовавшихся при подаче в систему скважин пластилина. По результатам физического моделирования установлено, что в скважинах происходит преимущественно формирование продольного разрыва, при этом величина поля горизонтальных сжимающих напряжений в большей степени влияет на отклонение траектории продольного разрыва от вертикальной плоскости, содержащей оси скважин, чем увеличение угла между ними. Измерены углы наклона плоскости продольного разрыва при его выходе на боковую грань блока.

Область исследования:
Геотехнология и инженерная геология
Ключевые слова:
трещина гидроразрыва искусственный блок напряженное состояние лабораторный эксперимент
Перейти к тому 272

Финансирование

Исследование выполнено при финансовой поддержке РНФ и Правительства Новосибирской обл. в рамках научного проекта № 22-27-20061.

Введение

Возникновение и развитие гидравлического разрыва пласта (ГРП) тесно связано с повышением нефтеотдачи добывающих скважин [1-4]. Относительная простота лежащей в основе данного способа идеи привела к его широкому распространению. Окончательная форма трещины гидроразрыва в горной породе в значительной степени зависит от направления действия сжимающих напряжений и их значений [5, 6]. При выполнении операции ГРП на больших глубинах, характерных для многих нефтегазовых месторождений, возможная ориентация образующихся трещин ограничена влиянием максимального вертикального напряжения. В таких условиях почти всегда наблюдается формирование продольного разрыва в вертикальной скважине, либо радиальной поперечной трещины в горизонтальном стволе.

Реализация метода ГРП в шахтах осложнена некоторыми особенностями. Сложнопредсказуемость траекторий создаваемых трещин обусловлена высокими горизонтальными напряжениями [7, 8] и влиянием близкорасположенных горных выработок и пластовых скважин на напряженно-деформированное состояние массива. При этом спектр решаемых задач может быть достаточно разнообразен, например, интенсификация предварительной дегазации угольных пластов [9-12], управляемая посадка труднообрушаемой кровли [13-16], защита подземных выработок от напорной фильтрации [17], измерение действующих напряжений [18-21]. Интересны методические и технические решения для интенсификации добычи тяжелых нефтей методом гидроразрыва на Ярегском месторождении, которое разрабатывается термошахтным способом [22].

Повышение эффективности шахтной модификации метода тесно связано с установлением особенностей распространения трещины ГРП в неоднородном поле напряжений в лабораторных условиях. Большинство используемых для этих целей установок разработаны для исследования трещинообразования в керне с приложением к нему осевого и всестороннего сжатия [23-25]. Такая постановка эксперимента не полностью соответствует пластовым условиям и не позволяет рассматривать характерные для горного дела задачи.

С целью получения достоверных результатов физического моделирования гидроразрыва все большее распространение получают лабораторные установки с независимым трехосным нагружением кубического образца [26, 27]. Такой образец должен быть достаточно большим (длина ребра 150-200 мм и более) для исключения влияния краевых эффектов на распространение трещины и возможного размещения в нем моделей горной выработки или нескольких скважин.

Существующий опыт работ показывает, что управлять траекторией разрыва можно несколькими способами. Например, использовать различные технические средства для нарезки инициирующих щелей на стенках скважины [28], выполнять направленную нагрузку или разгрузку в целевом интервале [29, 30], предварительно создавать дополнительные трещины для изменения локального поля напряжений [31], изменять свойства рабочего агента [32] и параметры его закачки [33, 34]. Также к факторам, влияющим на траекторию растущей трещины, относятся нарезка на стенках обсадной колонны перфорации сложной геометрии, определенное расположение нескольких скважин различной направленности, а также наличие в них дополнительных ответвлений.

Одним из перспективных способов создания продольных трещин является проведение гидроразрыва в пересекающихся скважинах. Предполагается, что рост трещины будет происходить в плоскости, содержащей их оси. Подобный подход использовался при разработке технологии направленного ГРП, отличительной особенностью которой является создание нескольких радиальных скважин малого диаметра из вертикальной и дальнейшая подача рабочей жидкости под давлением в сформированную систему [35]. Показано, что трещина с большой вероятностью формируется в плоскости, образованной радиальными скважинами вне зависимости от действующих в массиве напряжений. Дополнительно исследовалось влияние взаимного расположения радиальных скважин на траекторию трещины [36]. Результаты экспериментов показывают, что увеличение угла между осью скважины и направлением максимального напряжения повышают давление разрыва.

Схожее решение применялось при гидравлическом разрыве угольного пласта в шахтных условиях, при этом получена высокая сходимость результатов математического моделирования и экспериментальных измерений [37]. Установлено, что использование разработанной технологии снижает давление гидроразрыва угольного пласта и позволяет контролировать направление начального роста трещин.

Целью данной работы является исследование возможностей формирования продольной трещины гидроразрыва между пересекающимися скважинами в неблагоприятном для ее развития поле напряжений. В эксперименте такое поле создавалось за счет приложения максимального действующего напряжения перпендикулярно плоскости, содержащей оси скважин.

Методология исследований

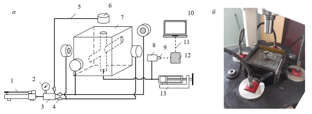
Лабораторный стенд для исследования процесса ГРП в кубических блоках разработан и смонтирован на основе гидравлического пресса ПГ-100. Сжатие образца в горизонтальной плоскости по двум ортогональным направлениям осуществляется с помощью четырех попарно действующих домкратов ДН10П10 грузоподъемностью 10 тс, установленных в силовой раме. Аналогичный домкрат закреплен в верхней части стенда и обеспечивает нагрузку по вертикальной оси. Благодаря раздельному подключению домкратов к насосу высокого давления в стенде реализована возможность независимого трехосного нагружения образца. Более подробно конструкция лабораторного стенда описана в статьях [38, 39], схема работы показана на рис.1, а.

Рис.1. Схема работы лабораторного стенда (а) и блок оргстекла, подготовленный для разрыва пластилином в испытательной камере (б)

1 – насос ручной; 2 – манометр; 3, 8 – коллекторы; 4 – кран запорный; 5 – трубопроводы высоконапорные; 6 – гидравлический домкрат; 7 – образец с пересекающимися скважинами; 9 – датчик давления; 10 – портативный компьютер; 11 – канал связи; 12 – регистратор давления; 13 – пресс-расходомер механический

В ходе выполнения экспериментов сбор и регистрация данных осуществлялась с помощью датчика давления МИДА-ПИ-51П, соединенного кабелем с регистратором давления. В регистраторе используется 24-разрядный аналого-цифровой преобразователь (АЦП), что позволяет выполнять передачу сигнала в портативный компьютер по каналу Bluetooth для дальнейшей обработки и визуализации программными средствами [40].

Физическое моделирование гидроразрыва выполнялось в искусственных блоках, изготовленных из полиметилметакрилата (оргстекло) с длиной ребра 180 мм. Выбор материала для экспериментов обусловлен двумя факторами. Во-первых, это оптическая прозрачность, позволяющая достаточно точно контролировать рост трещины без использования дополнительных технических средств. Во-вторых, при распространении трещины в оргстекле происходит в основном хрупкое разрушение материала без значительной пластической составляющей, что позволяет исключить ее воздействие на итоговую траекторию разрыва и сосредоточить внимание только на влиянии сжимающих нагрузок и угла между пересекающимися скважинами. Совокупность этих особенностей, а также схожесть механических свойств оргстекла (предел прочности на сжатие около 70 МПа) и пород горного массива привело к его широкому использованию при моделировании гидроразрыва в лабораторных условиях [41-43].

В каждом блоке создавались две модельные скважины диаметром 14 мм, которые пересекались в его центре. Одна из скважин была вертикальной, а другая образовывала с ней угол γ, равный 30 или 60 град. Забой наклонной скважины не достигал границ блока, а ее устье перекрывалось с помощью герметизатора, оснащенного двумя уплотнительными кольцами (рис.2, а) [44].

Рис.2. Герметизатор для изолирования наклонной скважины (а) и двухпакерное устройство (б)

Лабораторные эксперименты проводились для двух вариантов рабочего флюида: водный раствор дистиллированного глицерина (ГОСТ 6824-96), подкрашенный колером, и пластилин. В первом случае вертикальная скважина была сквозной, а интервал разрыва изолировали с помощью специального двухпакерного устройства (рис.2, б). Глицерин подавался с помощью механического пресс-расходомера. Во втором случае расстояние от забоя вертикальной скважины до поверхности блока составляло около 20 мм. Пластилин задавливали путем закручивания винта по резьбе, нарезанной на стенках вертикальной скважины (см. рис.1, б). Расположение и форма скважин в блоке в зависимости от используемого рабочего флюида, а также направления действия сжимающих напряжений приведены на рис.3 [44].

В соответствии с основной целью лабораторных исследований в качестве максимального действующего напряжения в экспериментах было выбрано Sxx. Превышение именно этого напряжения над остальными влияет на скорость разворота и выход формируемой продольной трещины из заданной скважинами плоскости. Особенности распространения разрывов в подобной постановке исследовались численно [45], а также в ходе физического моделирования на образцах пескобетона [46]. В табл.1 указаны углы g для всех изготовленных блоков, условия нагружения в процессе физического моделирования, а также используемый для разрыва рабочий флюид [44].

Рис.3. Расположение и форма скважин в блоке при разрыве глицерином (а) и пластилином (б) в поле сжимающих напряжений

Таблица 1

Основные характеристики блоков и параметры экспериментов

Номер блока

Угол γ, град

Условия нагружения, МПа

Рабочий флюид

Sxx

Szz

Syy

1

30

1,3

1,0

1,0

Глицерин

2

60

1,3

1,0

1,0

Глицерин

3

30

1,3

0

1,0

Пластилин

4

60

1,3

0

1,0

Пластилин

5

30

1,5

0

1,0

Пластилин

6

60

1,5

0

1,0

Пластилин

Полученные результаты и обсуждение

В ходе разрыва блока 1 в скважинах произошло формирование двух независимых трещин и их частичное соединение вблизи концентратора напряжений (рис.4, аб). Итоговый разрыв заметно отклонился от плоскости, содержащей оси скважин, наблюдался выход глицерина на нижней грани блока. Давление разрыва в эксперименте Pb = 11,9 МПа, а остаточное давление в конце наблюдений 0,6 МПа.

Разрыв в блоке 2 произошел при достаточно высоком давлении – 33,5-37,2 МПа (остаточное давление – 0,81 МПа), что почти в три раза больше, чем зафиксировано для блока 1. Такое значительное расхождение можно объяснить различным состоянием стенок скважины, а также структурными особенностями конкретных блоков. При этом в блоке 2 образовалась достаточно четкая продольная трещина, соединяющая обе скважины, так как для такого высокого значения давления Pb различия между горизонтальными напряжениями Sxx и Syy практически отсутствуют (рис.4, вг). Отклонение плоскости трещины от вертикали составило 10 град, визуально наблюдался выход трещины на боковую и нижнюю грани блока [44].

Рис.4. Фотографии трещин, образовавшихся при закачке глицерина в блоке 1 (а, б) и блоке 2 (в, г)

Графики давления закачки глицерина для описанных случаев приведены на рис.5. Скорость подачи глицерина поддерживалась постоянной и составляла около 10 мл/мин.

По характеру изменения давления в блоке 1 можно сделать вывод, что перед формированием трещины произошло деформирование и поддавливание пакеров со стороны камеры нагрузки, вызвавшее незначительную разгерметизацию изолированного пакерами интервала (рис.5, а). В блоке 2 после достижения максимального давления 37,2 МПа также наблюдалась утечка рабочей жидкости из интервала разрыва через пакеры. После того как утечка прекратилась, дальнейший рост давления глицерина за счет его закачки пресс-расходомером привел к формированию трещины при 33,5 МПа (рис.5, б). Более низкое значение давления может быть связано с произошедшими в окрестности скважины необратимыми микроразрушениями материала [47].

В серии испытаний с использованием в качестве рабочего флюида пластилина его подача в вертикальную скважину происходила при Szz = 0. Пластилин помещался и плотно упаковывался в пересекающиеся скважины, затем в наклонную скважину устанавливали герметизатор, а металлический винт закручивали по нарезанной ранее на стенках вертикальной скважины резьбе. Это создавало необходимую для разрушения оргстекла нагрузку с постепенным поступлением пластилина в формирующуюся систему трещин. Давление разрыва при этом не регистрировалось.

При выполнении экспериментов в блоках 3 и 4 соотношение между действующими сжимающими напряжениями составляло Sxx = 1,3Syy. В ходе подачи пластилина трещинообразование начиналось в обеих скважинах, а затем растущие трещины соединялись в единый продольный разрыв (рис.6). Отметим сложную геометрию образующихся трещин, искривление их крыльев и закручивание вокруг скважин, причем в случае γ = 60° эти эффекты проявлялись сильнее. Создание разветвленных систем разрывов из одной скважины с повышением вязкости рабочего флюида подтверждалось результатами лабораторных исследований [48].

Рис.5. Графики давления закачки глицерина в зависимости от времени закачки t для блока 1 (а) и блока 2 (б)

Рис.6. Фотографии трещин, образовавшихся при подаче пластилина в блоке 3 (а, б) и блоке 4 (в, г)

Рис.7. Фотографии трещин, образовавшихся при подаче пластилина в блоке 5 (а, б) и блоке 6 (в, г)

По условиям испытаний в блоках 5 и 6 максимальное сжимающее напряжение Sxx в полтора раза превышало Syy. При этом отмечалось схожее с предыдущим экспериментом развитие трещин (рис.7). В блоке 5 вследствие его неоднородности и дальнейшего расслоения вклинившимся пластилином в горизонтальной плоскости произошла остановка вертикального роста трещины. Подобные результаты наблюдалось ранее в различных лабораторных экспериментах по изучению взаимного влияния создаваемых и существующих трещин в условиях сжимающих напряжений [49-51]. Наиболее сложные условия для создания единого продольного разрыва были созданы в блоке 6 при γ = 60°. В этом случае произошло неполное соединение скважин разрывом, в том числе за счет поворота плоскости трещины, растущей в наклонной скважине (рис.7, в).

Для оценки влияния условий эксперимента на итоговую форму образовавшихся трещин для блоков 3-6 был измерен угол наклона плоскости продольного разрыва при его выходе на боковую грань блока. Для удобства обозначим α данный угол, отсчитываемый от вертикали (табл.2).

Таблица 2

 

Значение угла a для блоков 3-6

Номерблока

Условия нагружения, МПа

Угол γ, град

Угол α, град

Sxx

Syy

3

1,3

1,0

30

29

4

1,3

1,0

60

36

5

1,5

1,0

30

44

6

1,5

1,0

60

48

Полученные результаты показывают, что близкорасположенные скважины (γ = 30°) лучше стабилизируют плоскость разрыва в условиях заданного неравномерного поля напряжений: отклонение от вертикальной плоскости, содержащей оси скважин, составило 29 и 44° при Sxx = 1,3 и 1,5 МПа соответственно. Анализ углов α, полученных при разрыве блоков 4 и 5, обнаружил следующие особенности. Несмотря на относительно большое расстояние между стенками скважин вдали от области концентратора в блоке 4 (γ = 60°) и ограниченные возможности такой схемы для удержания разрыва в заданной плоскости, угол α оказался меньше, чем для блока 5 (γ = 30°). Это означает, что параметры поля сжимающих напряжений сильнее влияют на отклонение траектории продольного разрыва от вертикальной плоскости, содержащей оси скважин, чем увеличение угла γ. Полученные ранее результаты показывают, что в случае равнокомпонентного поля напряжений распространение разрыва вследствие вдавливания пластичных веществ чаще всего происходит в плоскости скважин, либо вдоль изначально задаваемого направления [52].

Установленные в данной работе особенности развития трещин могут быть использованы на практике при проектировании работ ГРП, выполняемых из горных выработок. Прилагаемые в ходе лабораторных испытаний нагрузки на кубический образец были ограничены техническими возможностями стенда и эквивалентны литостатическому давлению горных пород на глубине около 200 м, что соответствует многим месторождениям полезных ископаемых, отрабатываемых шахтным способом. К ним, например, можно отнести Ярегское месторождение высоковязкой нефти, месторождения урана Стрельцовского рудного поля, полиметаллическое месторождение Хандиза* (Узбекистан), Межегейское, Карагайлинское угольные месторождения и другие [53-56].

Используемые в экспериментах соотношения между максимальными и минимальными сжимающими напряжениями (1,3-1,5) наблюдаются на многих отрабатываемых пластах и залежах. В работе [57] обобщены результаты исследований природных напряжений в верхней части разреза отечественных и зарубежных месторождений. Отмечается широкая распространенность превышения горизонтальных напряжений над вертикальными как в изверженных, так и в осадочных метаморфизованных породах, в отдельных случаях в 10 раз. Схожие результаты приводятся и в публикациях [56, 58], описывающих распределение действующих напряжений в угольных шахтах Китая.

Успех шахтной реализации исследуемого в данной статье подхода зависит от возможности формирования в массиве концентратора напряжений за счет пересечения скважин. В условиях подземных выработок это может быть реализовано путем установки ориентированного клин-отклонителя в заданном месте горизонтальной пластовой скважины и дальнейшей зарезки из нее бокового ствола [59]. Создаваемая таким образом У-образная система скважины и бокового ствола будет обладать необходимой для решения имеющейся задачи направленностью. Затем с помощью пакера осуществляют герметизацию участка скважины вместе с боковым стволом и выполняют закачку рабочего флюида. Повышение вязкости флюида возможно за счет использования специальных химических добавок, либо применения двухкомпонентных смол с заранее подобранным временем полимеризации [60].

Заключение

Формирование трещин заданной направленности при реализации метода гидравлического разрыва пласта является важным условием для повышения эффективности разработки месторождений полезных ископаемых. Создание продольных трещин в шахтных условиях позволяет успешно решать специфические задачи горного дела. Основной целью проведенных лабораторных исследований являлось изучение возможностей формирования продольного разрыва в системе пересекающихся скважин, когда направление действия максимального сжимающего напряжения было перпендикулярно плоскости, содержащей их оси.

В ходе испытаний установлено, что трещины чаще всего образуются независимо в вертикальной и наклонной скважинах, при дальнейшем росте объединяются и удерживаются скважинами как единый разрыв, в том числе благодаря области вблизи концентратора. В наиболее неблагоприятных условиях (Sxx = 1,5Syy, γ = 60°) при подаче пластилина наблюдалось неполное соединение скважин, в том числе за счет поворота плоскости трещины, растущей в наклонной скважине. Стоит отметить сложную геометрию образовавшихся трещин, искривление их крыльев и закручивание вокруг скважин, причем в случае γ = 60° эти эффекты проявляются сильнее.

По результатам физического моделирования определено, что параметры поля горизонтальных сжимающих напряжений в большей степени влияют на отклонение траектории продольного разрыва от вертикальной плоскости, содержащей оси скважин, чем увеличение угла между ними. Измерение угла наклона плоскости продольного разрыва при его выходе на боковую грань блока показало, что близкорасположенные скважины (γ = 30°) лучше стабилизируют плоскость разрыва в условиях заданного неравномерного поля напряжений.

Литература

  1. Koplos J., Tuccillo M.E., Ranalli B. Hydraulic fracturing overview: How, where, and its role in oil and gas // Journal AWWA. 2014. Vol. 106. Iss. 11. P. 38-46. DOI: 10.5942/jawwa.2014.106.0153
  2. Bin Chen, Barboza B.R., Yanan Sun et al. A Review of Hydraulic Fracturing Simulation // Archives of Computational Methods in Engineering. 2022. Vol. 29. Iss. 4. P. 2113-2170. DOI: 10.1007/s11831-021-09653-z
  3. Филиппов Е.В., Захаров Л.А., Мартюшев Д.А., Пономарева И.Н. Воспроизведение пластового давления методами машинного обучения и исследование его влияния на процесс образования трещин при гидравлическом разрыве пласта // Записки Горного института. 2022. Т. 258. С. 924-932. DOI: 10.31897/PMI.2022.103
  4. Босиков И.И., Клюев Р.В., Майер А.В. Комплексная оценка эффективности технологии гидравлического разрыва пласта для проведения скважин при добыче углеводородов // Записки Горного института. 2022. Т. 258. С. 1018-1025. DOI: 10.31897/PMI.2022.98
  5. Bakhshi E., Golsanami N., Lianjun Chen. Numerical Modeling and Lattice Method for Characterizing Hydraulic Fracture Propagation: A Review of the Numerical, Experimental, and Field Studies // Archives of Computational Methods in Engineering. 2021. Vol. 28. Iss. 5. P. 3329-3360. DOI: 10.1007/s11831-020-09501-6
  6. Dutler N., Valley B., Gischig V. et al. Hydraulic fracture propagation in a heterogeneous stress field in a crystalline rock mass // Solid Earth. 2019. Vol. 10. Iss. 6. P. 1877-1904. DOI: 10.5194/se-10-1877-2019
  7. Kang H., Zhang X., Si L. et al. In-situ stress measurements and stress distribution characteristics in underground coal mines in China // Engineering Geology. 2010. Vol. 116. Iss. 3-4. P. 333-345. DOI: 10.1016/j.enggeo.2010.09.015
  8. Ловчиков А.В. Различие в опасности горных ударов на рудниках и угольных шахтах // Фундаментальные и прикладные вопросы горных наук. 2017. Т. 4. № 2. С. 105-111.
  9. Qian Li, Yiyu Lu, Zhaolong Ge et al. A New Tree-Type Fracturing Method for Stimulating Coal Seam Gas Reservoirs // Energies. 2017. Vol. 10. Iss. 9. № 1388. DOI: 10.3390/en10091388
  10. Yubing Liu, Zuxun Zhang, Bozhi Deng, Minghui Li. Liquid carbon dioxide fracturing application and its effect on gas drainage in low permeability coal seams of underground coal mine // Energy Sources, Part A: Recovery, Utilization, and Environmental Effects. 2023. Vol. 45. Iss. 3. P. 6534-6546. DOI: 10.1080/15567036.2019.1675809
  11. Slastunov S., Kolikov K., Batugin A. et al. Improvement of Intensive In-Seam Gas Drainage Technology at Kirova Mine in Kuznetsk Coal Basin // Energies. 2022. Vol. 15. Iss. 3. № 1047. DOI: 10.3390/en15031047
  12. Klishin V.I., Opruk G.Y., Tatsienko A.L. Technology and means of a coal seam interval hydraulic fracturing for the seam degassing intensification // IOP Conference Series: Earth and Environmental Science. 2017. Vol. 53. № 012019. DOI: 10.1088/1755-1315/53/1/012019
  13. Леконцев Ю.М., Сажин П.В. Технология направленного гидроразрыва пород для управления труднообрушающимися кровлями в очистных забоях и дегазации угольных пластов // Физико-технические проблемы разработки полезных ископаемых. 2014. № 5. С. 137-142.
  14. Jiangwei Liu, Changyou Liu, Qiangling Yao, Guangyao Si. The position of hydraulic fracturing to initiate vertical fractures in hard hanging roof for stress relief // International Journal of Rock Mechanics and Mining Sciences. 2020. Vol. 132. № 104328. DOI: 10.1016/j.ijrmms.2020.104328
  15. Wenli Zhai, Fulian He, Liang Li et al. Roof cutting mechanism and surrounding rock control of small pillar along-gob roadway driving in super high coal seam // Bulletin of Engineering Geology and the Environment. 2023. Vol. 82. Iss. 4. № 151. DOI: 10.1007/s10064-023-03189-1
  16. Yongxin Sun, Yukai Fu, Tao Wang. Field application of directional hydraulic fracturing technology for controlling thick hard roof: a case study // Arabian Journal of Geosciences. 2021. Vol. 14. Iss. 6. № 438. DOI: 10.1007/s12517-021-06790-4
  17. Shilova T.V., Rybalkin L.A. Study of polymer compositions for formation of impermeable inclusions in rock mass // IOP Conference Series: Earth and Environmental Science. 2022. Vol. 991. № 012008. DOI: 10.1088/1755-1315/991/1/012008
  18. Сердюков С.В., Курленя М.В., Патутин А.В. К вопросу об измерении напряжений в породном массиве методом гидроразрыва // Физико-технические проблемы разработки полезных ископаемых. 2016. № 6. С. 6-14.
  19. Oldenburg C.M., Dobson P.F., Yuxin Wu et al. Hydraulic fracturing experiments at 1500 m depth in a deep mine: Highlights from the kISMET project // 42nd Workshop on Geothermal Reservoir Engineering, 13-15 February 2017, Stanford, CA, USA. Stanford Geothermal Program, 2017. № SGP-TR-212.
  20. Rubtsova E.V., Skulkin A.A. Hydraulic fracturing stress measurement in underground salt rock mines at Upper Kama Deposit // IOP Conference Series: Earth and Environmental Science. 2018. Vol. 134. № 012049. DOI: 10.1088/1755-1315/134/1/012049
  21. Qiang Xu, Qiangling Yao, Changhao Shan, Chuangkai Zheng. A New Hydraulic Fracturing Instrument to Measure In Situ Stress and Its Application in Chahasu Coal Mine // Geotechnical Testing Journal. 2022. Vol. 45. Iss. 5. P. 901-914. DOI: 10.1520/GTJ20210207
  22. Сердюков С.В., Курленя М.В. Применение локального гидроразрыва для интенсификации термогравитационного дренирования пласта // XII Международные научный конгресс и выставка «Интерэкспо ГЕО-Сибирь-2016»: Материалы Международной научной конференции «Экономическое развитие Сибири и Дальнего Востока. Экономика природопользования, землеустройство, лесоустройство, управление недвижимостью», 18-22 апреля 2016, Новосибирск, Россия. Новосибирск: Сибирский государственный университет геосистем и технологий, 2016. Т. 2. С. 8-13.
  23. Yunzhong Jia, Zhaohui Lu, Qiquan Xiong et al. Laboratory characterization of cyclic hydraulic fracturing for deep shale application in Southwest China // International Journal of Rock Mechanics and Mining Sciences. 2021. Vol. 148. № 104945. DOI: 10.1016/j.ijrmms.2021.104945
  24. Li Zhuang, Kwang Yeom Kim, Melvin Diaz, Sun Yeom. Evaluation of water saturation effect on mechanical properties and hydraulic fracturing behavior of granite // International Journal of Rock Mechanics and Mining Sciences. 2020. Vol. 130. № 104321. DOI: 10.1016/j.ijrmms.2020.104321
  25. Bobrova M., Stanchits S., Shevtsova A. et al. Laboratory Investigation of Hydraulic Fracture Behavior of Unconventional Reservoir Rocks // Geosciences. 2021. Vol. 11. Iss. 7. № 292. DOI: 10.3390/geosciences11070292
  26. Deb P., Düber S., Guarnieri Calò Carducci C., Clauser C. Laboratory-scale hydraulic fracturing dataset for benchmarking of enhanced geothermal system simulation tools // Scientific Data. 2020. Vol. 7. № 220. DOI: 10.1038/s41597-020-0564-x
  27. Patutin A.V., Serdyukov S.V. Laboratory stands for hydraulic fracturing simulation in a nonuniform stress field // IOP Conference Series: Earth and Environmental Science. 2022. Vol. 991. № 012035. DOI: 10.1088/1755-1315/991/1/012035
  28. Feiteng Zhang, Xiangyu Wang, Jianbiao Bai et al. Fixed-length roof cutting with vertical hydraulic fracture based on the stress shadow effect: A case study // International Journal of Mining Science and Technology. 2022. Vol. 32. Iss. 2. P. 295-308. DOI: 10.1016/j.ijmst.2021.09.007
  29. Pavlov V.A., Serdyukov S.V., Martynyuk P.A., Patutin A.V. Optimisation of borehole-jack fracturing technique for in situ stress measurement // International Journal of Geotechnical Engineering. 2019. Vol. 13. Iss. 5. P. 451-457. DOI: 10.1080/19386362.2017.1363347
  30. Карев В.И., Коваленко Ю.Ф., Устинов К.Б. Моделирование геомеханических процессов в окрестности нефтяных и газовых скважин. М.: Институт проблем механики им. А.Ю.Ишлинского РАН, 2018. 528 с.
  31. Shaohua Gai, Zhihong Nie, Xinbin Yi et al. Study on the Interference Law of Staged Fracturing Crack Propagation in Horizontal Wells of Tight Reservoirs // ACS Omega. 2020. Vol. 5. Iss. 18. P. 10327-10338. DOI: 10.1021/acsomega.9b04423
  32. Kalam S., Afagwu C., Al Jaberi J. et al. A review on non-aqueous fracturing techniques in unconventional reservoirs // Journal of Natural Gas Science and Engineering. 2021. Vol. 95. № 104223. DOI: 10.1016/j.jngse.2021.104223
  33. Jiangzhan Chen, Xibing Li, Han Cao, Linqi Huang. Experimental investigation of the influence of pulsating hydraulic fracturing on pre-existing fractures propagation in coal // Journal of Petroleum Science and Engineering. 2020. Vol. 189. № 107040. DOI: 10.1016/j.petrol.2020.107040
  34. Wenfeng Li, Frash L.P., Carey J.W. et al. Injection Parameters That Promote Branching of Hydraulic Cracks // Geophysical Research Letters. 2021. Vol. 48. Iss. 12. № e2021GL093321. DOI: 10.1029/2021GL093321
  35. Tiankui Guo, Zhenhua Rui, Zhanqing Qu, Ning Qi. Experimental study of directional propagation of hydraulic fracture guided by multi-radial slim holes // Journal of Petroleum Science and Engineering. 2018. Vol. 166. P. 592-601. DOI: 10.1016/j.petrol.2018.03.102
  36. Zhaoquan Guo, Shouceng Tian, Qingling Liu et al. Experimental investigation on the breakdown pressure and fracture propagation of radial borehole fracturing // Journal of Petroleum Science and Engineering. 2022. Vol. 208. Part A. № 109169. DOI: 10.1016/j.petrol.2021.109169
  37. Shaojie Zuo, Zhaolong Ge, Kai Deng et al. Fracture initiation pressure and failure modes of tree-type hydraulic fracturing in gas-bearing coal seams // Journal of Natural Gas Science and Engineering. 2020. Vol. 77. № 103260. DOI: 10.1016/j.jngse.2020.103260
  38. Рубцова Е.В. Стенд трехосного независимого нагружения для физического моделирования процесса измерительного гидроразрыва // XI Международные научный конгресс и выставка «Интерэкспо ГЕО-Сибирь-2015»: Материалы Международной научной конференции «Недропользование. Горное дело. Направления и технологии поиска, разведки и разработки месторождений полезных ископаемых. Геоэкология», 13-25 апреля 2015, Новосибирск, Россия. Новосибирск: Сибирский государственный университет геосистем и технологий, 2015. Т. 3. С. 211-215.
  39. Рубцова Е.В., Скулкин А.А. О физическом моделировании процесса измерительного гидроразрыва в модельных образцах при их неравнокомпонентном нагружении // Проблемы недропользования. 2017. № 2 (13). С. 42-46. DOI: 10.18454/2313-1586.2017.02.042
  40. Качальский В.Г., Леонтьев А.В., Рубцова Е.В. Портативный регистратор давления в составе комплекса «Гидроразрыв» для экспериментального определения напряжений в массиве горных пород // XV Международный научный конгресс «Интерэкспо ГЕО-Сибирь»: Материалы Международной научной конференции «Недропользование. Горное дело. Направления и технологии поиска, разведки и разработки месторождений полезных ископаемых. Экономика. Геоэкология», 24-26 апреля 2019, Новосибирск, Россия. Новосибирск: Сибирский государственный университет геосистем и технологий, 2019. Т 2. № 4. С. 38-44. DOI: 10.33764/2618-981X-2019-2-4-38-44
  41. Quan Gan, Elsworth D., Alpern J.S. et al. Breakdown pressures due to infiltration and exclusion in finite length boreholes // Journal of Petroleum Science and Engineering. 2015. Vol. 127. P. 329-337. DOI: 10.1016/j.petrol.2015.01.011
  42. Khadraoui S., Hachemi M., Allal A. et al. Numerical and experimental investigation of hydraulic fracture using the synthesized PMMA // Polymer Bulletin. 2021. Vol. 78. Iss. 7. P. 3803-3820. DOI: 10.1007/s00289-020-03300-6
  43. Mouli-Castillo J., Kendrick J.E., Lightbody A. et al. Cyclical hydraulic pressure pulses reduce breakdown pressure and initiate staged fracture growth in PMMA // Geomechanics and Geophysics for Geo-Energy and Geo-Resources. 2024. Vol. 10. Iss. 1. № 65. DOI: 10.1007/s40948-024-00739-z
  44. Патутин А.В., Скулкин А.А. Гидравлический разрыв пересекающихся скважин в неоднородном поле напряжений: лабораторные исследования // Физическая мезомеханика. Материалы с многоуровневой иерархически организованной структурой и интеллектуальные производственные технологии: Тезисы докладов Международной конференции, 11-14 сентября 2023, Томск, Россия. Томск: Институт физики прочности и материаловедения СО РАН, 2023. С. 176-177.
  45. Азаров А.В., Патутин А.В., Сердюков С.В. О форме трещин гидроразрыва в окрестности сопряжения скважины с боковым стволом // Физико-технические проблемы разработки полезных ископаемых. 2022. № 5. С. 49-62. DOI: 10.15372/FTPRPI20220505
  46. Патутин А.В., Скулкин А.А., Прасолова В.С. Физическое моделирование гидроразрыва скважины с боковым стволом в искусственных блоках // Физико-технические проблемы разработки полезных ископаемых. 2023. № 2. С. 12-20. DOI: 10.15372/FTPRPI20230202
  47. Jing-Nan Dong, Guang-Jie Yuan, Xiang-Yang Wang et al. Experimental study of multi-timescale crack blunting in hydraulic fracture // Petroleum Science. 2021. Vol. 18. Iss. 1. P. 234-244. DOI: 10.1007/s12182-020-00479-1
  48. Панов А.В., Колыхалов И.В. Численное и экспериментальное моделирование развития продольных трещин множественного гидроразрыва вязким флюидом // XVII Международный научный конгресс «Интерэкспо ГЕО-Сибирь»: Материалы Международной научной конференции «Недропользование. Горное дело. Направления и технологии поиска, разведки и разработки месторождений полезных ископаемых. Экономика. Геоэкология», 19-21 мая 2021, Новосибирск, Россия. Новосибирск: Сибирский государственный университет геосистем и технологий, 2021. Т. 2. № 4. С. 41-51. DOI: 10.33764/2618-981X-2021-2-4-41-51
  49. Zi-Xiao Xie, Xiao-Guang Wu, Teng-Da Long et al. Visualization of hydraulic fracture interacting with pre-existing fracture // Petroleum Science. 2023. Vol. 20. Iss. 6. P. 3723-3735. DOI: 10.1016/j.petsci.2023.07.014
  50. Leontiev A., Rubtsova E. Analysis of Crack Formation in Model Specimens During Hydraulic Fracturing in Holes // Trigger Effects in Geosystems. Springer, 2019. P. 247-256. DOI: 10.1007/978-3-030-31970-0_27
  51. Qiao Lu, EI-Fayoumi A., Adachi J. et al. Laboratory demonstration of the impact of weak interfaces and layered rock properties on hydraulic fracture containment and height growth // Geomechanics and Geophysics for Geo-Energy and Geo-Resources. 2023. Vol. 9. Iss. 1. № 113. DOI: 10.1007/s40948-023-00649-6
  52. Кю Н.Г. Создание сопряженных ориентированных трещин флюидоразрывом породного массива с использованием скважин в качестве направляющих его фронта // Физико-технические проблемы разработки полезных ископаемых. 2020. № 5. С. 115-124. DOI: 10.15372/FTPRPI20200513
  53. Коноплев Ю.П., Демченко А.Г., Демченко А.А. Нефтяная шахта – технология, позволяющая обеспечить половину добычи нефти в XXI в. на открытых и отработанных месторождениях России // Недропользование XXI век. 2020. № 1 (83). С. 46-55.
  54. Лизункин М.В., Бейдин А.В. Оценка напряженно-деформированного состояния массива горных пород Стрельцовского рудного поля // Геомеханика в горном деле: Доклады Всероссийской научно-технической конференции с международным участием, 4-5 июня 2014, Екатеринбург, Россия. Екатеринбург: Уральское отделение РАН, 2014. С. 30-38.
  55. Белов С.В. Горногеологические и горнотехнические условия разработки углей на участке «Поле шахты Карагайлинская» // Междисциплинарные подходы в биологии, медицине и науках о Земле: теоретические и прикладные аспекты: Материалы симпозиума XVIII (L) Международной научной конференции студентов, аспирантов и молодых ученых «Образование, наука, инновации: вклад молодых исследователей», приуроченной к 50-летию КемГУ, 24-29 апреля 2023, Кемерово, Россия. Кемерово: Кемеровский государственный университет, 2023. Вып. 24. С. 118-120.
  56. Kang H., Zhang X., Si L. et al. In-situ stress measurements and stress distribution characteristics in underground coal mines in China // Engineering Geology. 2010. Vol. 116. Iss. 3-4. P. 333-345. DOI: 10.1016/j.enggeo.2010.09.015
  57. Козырев А.А. Современные результаты экспериментального изучения природных напряжений в верхней части земной коры и проблемы горного давления // Геомеханика в горном деле: Доклады Всероссийской научно-технической конференции с международным участием, 4-5 июня 2014, Екатеринбург, Россия. Екатеринбург: Уральское отделение РАН, 2014. С. 39-53.
  58. Peng Li, Meifeng Cai, Qifeng Guo et al. Current stress field and its relationship to tectonism in a coal mining district, central China, for underground coal energy exploration // Energy Reports. 2022. Vol. 8. P. 5313-5328. DOI: 10.1016/j.egyr.2022.04.008
  59. Патент № 2730688 РФ. Способ направленного гидроразрыва угольного пласта / С.В.Сердюков, А.В.Патутин, А.В.Азаров, Л.А.Рыбалкин, Т.В.Шилова. Опубл. 25.08.2020. Бюл. № 24.
  60. Langbauer C., Tehrani F.F., Mastobaev B. A holistic review on hydraulic fracturing stimulation laboratory experiments and their transition to enhanced geothermal system field research and operations // Liquid and Gaseous Energy Resources. 2021. Vol. 1. Iss. 1. P. 30-63. DOI: 10.21595/lger.2021.22043

Похожие статьи

Тиристорное вольтодобавочное устройство для снижения колебаний напряжения в системах электроснабжения горно-рудных предприятий
2025 Е. Н. Соснина, А. А. Асабин, Р. Ш. Бедретдинов, Е. В. Крюков, Д. А. Гусев
Анализ трансформации напряженного состояния горных пород вблизи горизонтальной скважины при проведении кислотной обработки на основе метода численного моделирования
2025 С. Н. Попов, С. Е. Чернышов, Ксяопу Ванг
Определение касательной составляющей сопротивления резанию мерзлых осадочных пород по блокированной, глубокоблокированной и сотовой схемам
2025 С. А. Шемякин, Е. А. Шишкин
Формирование отраслевой методики расчета параметров системы накопления электроэнергии для объектов газовой промышленности
2025 И. С. Токарев
Глушение скважин с контролем поглощения
2025 Д. С. Садуакасов, А. Т. Жолбасарова, Р. У. Баямирова, А. Р. Тогашева, М. Т. Табылганов, М. Д. Сарбопеева, А. Г. Касанова, В. Н. Гусаков, А. Г. Телин
Влияние механической и тепловой обработки на характеристики сапонитсодержащего материала
2025 Т. Н. Орехова, М. Н. Сивальнева, М. А. Фролова, В. В. Строкова, Д. О. Бондаренко