Подать статью
Стать рецензентом
Том 272
Страницы:
136-144
Скачать том:
RUS ENG

Определение касательной составляющей сопротивления резанию мерзлых осадочных пород по блокированной, глубокоблокированной и сотовой схемам

Авторы:
С. А. Шемякин1
Е. А. Шишкин2
Об авторах
  • 1 — д-р техн. наук профессор Тихоокеанский государственный университет ▪ Orcid
  • 2 — канд. техн. наук доцент Тихоокеанский государственный университет ▪ Orcid ▪ Elibrary ▪ Scopus
Дата отправки:
2023-12-07
Дата принятия:
2024-11-07
Дата публикации онлайн:
2025-04-07
Дата публикации:
2025-04-25

Аннотация

В связи с недостаточной для практических расчетов точностью существующих исследований процесса резания мерзлых осадочных пород в работе решается задача определения касательной составляющей сопротивления резанию для блокированного, глубокоблокированного и сотового резания, наиболее часто используемых в землеройной технике. Рассмотрено силовое взаимодействие режущего инструмента с массивом породы с точки зрения возникающих напряжений, действующих на отделяющийся элемент стружки. Получены аналитические зависимости для определения касательной составляющей сопротивления резанию. Приведено численное обоснование выбора сотового резания по отношению к блокированному и глубокоблокированному резанию. Для всех трех случаев резания при равных геометрических параметрах режущего инструмента и физико-механических характеристиках мерзлой породы получены численные значения касательной составляющей сопротивления резанию. Сравнение расчетных значений сопротивления резанию показало, что сотовое резание требует меньших затрат энергии и предпочтительно при разработке мерзлых осадочных пород. В ходе полевых и лабораторных исследований с применением универсального стенда установлена удовлетворительная сходимость аналитических положений с физической картиной резания мерзлых осадочных пород. Результаты исследований позволяют более обоснованно подходить к корректировке существующих методик определения необходимых тяговых усилий и потребной мощности на привод выемочных машин, а следовательно, фактической производительности и рентабельности выполнения работ.

Область исследования:
Геотехнология и инженерная геология
Ключевые слова:
мерзлые осадочные породы блокированное резание глубокоблокированное резание сотовое резание режущий инструмент напряжения сопротивление резанию стенд
Перейти к тому 272

Введение

Большая часть поверхностного слоя территории Российской Федерации покрыта осадочными породами (глины, суглинки, супеси, пески), которые из-за горно-климатических условий 6-8 мес. в году находятся в мерзлом или вечномерзлом состоянии [1]. Горные предприятия на разрезах в зимнее время для разрушения мерзлой породы применяют локальный или массовый взрыв [2]. С учетом всех затрат на буровзрывные работы, включая стоимость взрывчатых веществ, складские помещения и их охрану, транспорт, стоимость взрывного и бурового оборудования, содержание бригады взрывников и буровиков, простои горной техники в ожидании взрыва и на рассеивание взрывного облака, расчетная себестоимость разрушения слоя мерзлой породы достаточно высока [3]. Повышение стоимости взрывчатых веществ, а в ряде случаев и трудности с их приобретением, привело к попыткам отказа от буровзрывных работ. Другой путь – использование специальных машин, работающих по принципу механического разрушения, а именно рыхления (резания) [4, 5]. К этой категории следует отнести навесные рыхлители на тракторах промышленного назначения, экскаваторы с фрезерным оборудованием, траншейные экскаваторы (роторные и цепные), карьерные фрезерные комбайны, буровые машины и т.д. [6, 7]. Механический способ не связан с выполнением значительных по объему подготовительных работ, а также дает возможность наряду со специальными землеройными машинами применять горные машины, предназначенные преимущественно для разработки талых пород. Механический способ выемки мерзлых пород по принципу резания доминирует в строительстве и горном деле [8, 9].

На протяжении более 70 лет целая плеяда российских ученых проводила исследования в области сопротивления резанию и черпанию мерзлых пород [10, 11]. Работы, выполненные Н.Г.Домбровским, А.Н.Зелениным, В.В.Абезгаузом, М.И.Гальпериным, В.И.Баловневым, Ю.А.Ветровым и др., дали определенный материал для понимания закономерностей резания мерзлых пород. Однако изученность процесса резания мерзлых пород еще не отвечает современным требованиям промышленности при создании новой техники. Зависимости для определения сопротивлений резанию носят эмпирический характер и не учитывают физическую картину и сущность резания [12-14]. Есть противоречия в определении влияния крепости породы на сопротивление резанию [15]. Результаты расчета по известным эмпирическим зависимостям касательной составляющей усилия резания свидетельствуют о значительном расхождении значений, при этом максимальное значение превышает минимальное в 4,8 раза [16-18].

Принципиальное отличие предлагаемой методики определения сопротивления резанию мерзлых осадочных пород заключается в том, что она носит аналитический характер с последующей проверкой полученных результатов экспериментальным путем для основных схем резания, применяемых на практике (блокированного, глубокоблокированного и сотового резания).

Методология

Целью исследования является разработка аналитических зависимостей определения касательной составляющей сопротивления блокированному, глубокоблокированному и сотовому резанию. Сравнение численных значений касательной составляющей сопротивления резанию для этих видов при равных геометрических параметрах режущего инструмента и типе мерзлой породы позволит определить наиболее эффективную с точки зрения энергоемкости выемку породы.

Схема блокированного резания приведена на рис.1 [19]. При блокированном резании элементы отделяемых стружек представляют собой тела достаточно сложной формы (рис.2) [19].

Форма элемента стружки представляет собой при небольших допущениях половину усеченного конуса [20-22] глубиной (hh2), ограниченного поверхностью ОПС. Касательную составляющую резания Р01 можно определить при рассмотрении предельного состояния элемента стружки перед отрывом от основного массива [23]. Параметры режущего инструмента – угол резания αр, угол заострения 180°. Нормально к поверхности отделения действуют напряжения разрыва σр, по касательной к поверхности – напряжения сдвига τ [24]. В нижней части (плоскость h2S) происходит формирование уплотненного ядра и, следовательно, смятие породы напряжениями σсм [25, 26].

В данной методике рассматривается резание зубьями, при котором параметры h, S, αp, h2 могут варьировать в широком диапазоне. Резание осуществлялось на связных (суглинках) и несвязных (песке) мерзлых осадочных породах, что учитывается величинами σр, τ и σсм. Во время экспериментов измерялись параметры прорези и, в частности зона h2, где нет развала под углом θ и формируется уплотненное ядро смятой породы. Выведена эмпирическая зависимость для определения величины h2 [11, 19]:

  • для несвязных мерзлых пород (песка) h2=1,021h-0,45e0,029h;
  • для связных мерзлых пород (суглинков) h2=0,728h-0,024e0,067h.

Рис.1. Схема сечения прорези при блокированном резании β – угол развала; S – ширина режущего инструмента; h – глубина прорези; h2 – глубина нижней части прорези

В зависимости от величины h2 сечение прорези разбивают на две зоны.

На схеме действия сил (рис.2) сила N и ее составляющие P01 и P02 являются внешними силами, действующими со стороны рабочего органа на массив. Сила P и ее составляющие P1 и P2 являются внутренними силами, действующими со стороны уплотненного ядра на отделяющийся элемент стружки. Силы  P'01 и P'02  являются составляющими внутреннего сопротивления смятию со стороны массива, действующими на уплотненное ядро. Силы Pпзx и Pпзу являются составляющими внутреннего сопротивления со стороны массива породы, действующими на площадку затупления рабочего органа. Сила P01 равна сумме трех слагаемых: касательной составляющей силового воздействия со стороны массива на уплотненное ядро, на отделяющийся элемент стружки, на площадку затупления рабочего органа. Все касательные составляющие внутренних сил воздействия на рабочий орган сведены в формуле с определенными углами наклона к оси x. Таким образом, приложение сил на схеме (рис.2) выполнено для общего представления о внутренних сопротивлениях при движении рабочего органа в массиве мерзлой породы, а не для соответствия друг другу.

Рис.2. Расчетная схема блокированного резания

Опуская тригонометрические соотношения размеров и напряжений и суммируя сопротивления в зонах 1 и 2, а также сопротивления, связанные с затуплением режущего инструмента, получим аналитическую зависимость определения касательной составляющей сопротивления блокированному резанию мерзлой осадочной породы:

P 01 = σ см S h 2 + ξ 1 h 2 2 tg φ 2 sin(2 α p +ψ) sin( α p +ψ) + ξ 1 S 2 tg φ 2 8 + πS h 2 tg φ 2 ctg( α p +ψ) 2 +(1) +(τ σ p tgθ) h h 2 tg 2 θ (Stgθ+h h 2 ) + σ см bSsin( δ 1 +μ) cosμ ,

где b – ширина площадки износа; δ1 – угол наклона между плоскостью площадки износа и касательной к траектории движения режущего инструмента; μ – угол трения породы по режущему инструменту; ξ1 – коэффициент бокового распора породы; φ2 – угол трения породы о породу; αр – угол резания; θ – угол переднего отрыва; ψ – угол между лобовыми поверхностями уплотненного ядра и режущего инструмента.

В вопросах резания мерзлых пород дифференцирование напряжений в различных зонах поперечного сечения стружки не проводилось, поэтому основным отличием выполненной работы является разделение сечения по зонам с различными напряжениями. Суммирование касательных составляющих возникающих сопротивлений в зонах отделения элементов стружки, уплотненного ядра и по площадке затупления проводилось на основании фундаментальных законов физики твердого тела, теоретической механики и сопротивления материалов.

Степень крепости (мерзлотности) породы учитывается в формуле (1) напряжениями σр, τ, σсм, значения которых в зависимости от температуры приведены в литературе по механике мерзлых пород (грунтов). Здесь следует отметить труды А.Н.Зеленина, Г.М.Веселова, А.Н.Степанова, Н.К.Пекарской, С.С.Вялова, М.И.Ровинского, Г.А.Шлойдо, Л.И.Свердловой и многих других исследователей.

Рис.3. Схема сечения прорези при глубокоблокированном резании H – расстояние от поверхности массива до дна прорези

Глубокоблокированное резание (рис.3) используется при разрушении мерзлых пород значительно реже, чем блокированное [27-29]. При работе роторных траншейных экскаваторов на мерзлых породах в нижней части забоя срезание происходит тонкими стружками и развала породы в прорезях после прохода режущего инструмента нет [30, 31]. Здесь наблюдается глубокоблокированное резание. Подобный процесс происходит и при работе фрезерных комбайнов на любых породах – слабых и средней крепости [32]. Если рыхлительный зуб бульдозерно-рыхлительного агрегата после прохода в породе при блокированном резании снова вводить в проделанную прорезь с целью углубления, то будет происходить глубокоблокированное резание [33]. Глубокоблокированное резание исследовалось только экспериментально [34, 35], поэтому теоретическое толкование этого вопроса представляет существенный интерес.

Касательная составляющая сопротивления мерзлой породы глубокоблокированному резанию определяется путем суммирования сопротивления резанию в зонах 1 и 2 (рис.4), учитывая касательную составляющую сопротивления сдвигу срезанной стружки по двум боковым плоскостям АВСД, а также по плоскости АД и лобовой поверхности притупленного режущего инструмента из прорези.

В конечном виде аналитическая зависимость определения касательной составляющей сопротивления глубокоблокированному резанию имеет вид:

P 01 = σ см S h 2 + ξ 1 h 2 2 tg φ 2 sin(2 α p +ψ) sin( α p +ψ) + ξ 1 S 2 tg φ 2 8 + πS h 2 tg φ 2 ctg( α p +ψ) 2 +(2) +2τcosθ (h h 2 ) 2 2tg α p + h 2 2 tg α p + h 2 2 tg ψ(90 α p ) + h 2 S 2 + h h 2 2 2tgθ + +S h h 2 τcosθ σ p sinθ +h(Hh)S γ п ctg α p μ 1 cos α p +sin α p ,

где μ1 – коэффициент трения породы о сталь; γп – объемная сила тяжести срезанной породы.

По расчету согласно формуле (2) при значениях параметров, равных указанным выше значениям, касательная составляющая сопротивления резанию составит Р01 = 85600 Н, что в 1,6 раза больше, чем при блокированном резании.

Сотовое резание (рис.5) широко применяется на машинах для выемки мерзлых пород [36]. К ним относятся роторные и цепные траншейные экскаваторы, баровые установки на тракторах, карьерные фрезерные комбайны и т.д. [37, 38].

Рис.4. Схема возникновения в предельном состоянии на отделяющийся элемент стружки напряжений сопротивлений при глубокоблокированном резании

Рис.5. Схема сечения прорези при сотовом резании мерзлой породы t – шаг резания

Для аналитического определения касательной составляющей сопротивления резанию Р01 целесообразно разделить поверхности на четыре зоны (рис.6) [19], проинтегрировать возникающие напряжения в каждой зоне и с учетом тригонометрических функций сложить полученные усилия.

В результате аналитическая зависимость определения касательной составляющей сопротивлению сотовому резанию имеет вид:

P 01 = σ см S h 2 + bSsin( δ 1 +μ) cosμ + (τ σ p tgθ) tg 2 θ h 2 Stgθ+ h 2 + 2 h 2 2 (Stgθ+h h 2 ) 3(Stgθ+h) +(3) + (Stgθ+2h2 h 2 ) 2 (Stgθ+h) 2 4 Stgθ+h2 h 2 3,5(Stgθ+h) + 2,5Stgθ 3,5(Stgθ+2h2 h 2 ) .

При указанных ранее значениях величин, входящих в формулу (3), для сотового резания касательная составляющая сопротивления резанию составит Р01 = 33400 Н, что в 1,63 раза меньше, чем при блокированном резании, и в 2,5 раза меньше, чем при глубокоблокированном резании.

Рис.6. Расчетная схема сотового резания

Методика проведения лабораторных и полевых испытаний

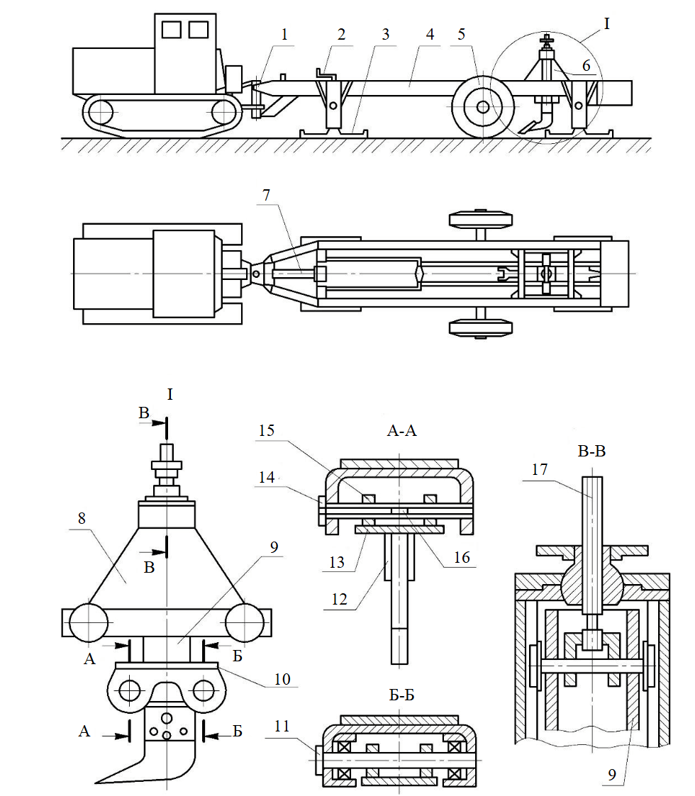
Для подтверждения сходимости полученных взаимосвязей (1)-(3) с физикой процесса резания мерзлых осадочных пород проведена серия экспериментов по резанию мерзлых суглинков и песков с коэффициентом крепости 2 в естественных условиях при температуре окружающего воздуха от –10 до –15 °С  [39-41]. Резание осуществлялось с помощью универсального стенда (рис.7), агрегатированного с трактором ДТ-75. Поскольку песчаную породу найти в естественном залегании довольно сложно и только в поймах рек, то резание песчаных пород велось в лабораторных условиях на замороженных блоках размером 1,2×1,2×0,4 м в морозильной камере с температурой от –15 до –20 °С и последующей установкой замороженного блока под режущий инструмент стенда.

Режущий инструмент (стальные зубья) имели ширину режущей кромки 40 мм с напайками из ВК-8 и площадкой затупления 3 мм. Возможность заглубления зубьев в породу составляла 300 мм.

Характеристика стенда: максимальная скорость резания 0,8 м/с, максимальное усилие резания 180 кН, наибольшая глубина резания 0,4 м. Стенд включает измерительную тележку 6, установленную на раму 4 (рис.7). В процессе измерений горизонтальность рамы обеспечивается с помощью лыж 3, а тяговое усилие от трактора передается на раму через шаровый шарнир 1. Транспортировка стенда к месту измерений осуществляется посредством пневматических колес 5. Расстояние от рамы до слоя породы изменяется посредством винтовых домкратов 2, вмонтированных в лыжи 3. Передвижение измерительной тележки 6 вдоль направляющих рамы 4 производится с помощью гидроцилиндра 7, подключенного к гидросистеме трактора. Стойка 9, установленная в раме 8 измерительной тележки, перемещается с помощью винта 17. В отверстиях фланца 10 установлены измерительная ось 14 и задняя ось 11. Рабочий орган подвешен на осях 11, 14 посредством фланцев 13 с проушинами 15 и направляющими 12. Касательная компонента сопротивления резанию фиксируется при помощи датчиков 16, установленных на оси 14 в вертикальной плоскости. Нормальная составляющая сопротивления резанию фиксируется датчиками, установленными на оси 14 в горизонтальной плоскости.

Рис.7. Схема стенда для послойного резания породы

При испытании пород на срез со сжатием и растяжением косвенным способом диаметрального сжатия применялись образцы высотой 100 мм и диаметром 71,4 мм. Напряжение смятия измерялось путем вдавливания в породу стального пуансона с помощью универсальной испытательной машины УММ-50 (ГОСТ 7855-61).

В ходе экспериментальных исследований определялись параметры прорези, оставляемые режущим инструментом: угол развала β, глубина h2 и h, угол переднего отрыва θ, угол между лобовой поверхностью уплотненного ядра и лобовой поверхностью режущего инструмента ψ.

Обсуждение результатов

В результате сравнения экспериментальных данных с расчетными по зависимостям (1)-(3) установлена удовлетворительная сходимость аналитических положений с физической картиной блокированного, глубокоблокированного и сотового резания мерзлых осадочных пород (расхождение не превышает 11 %). Из большого количества опытов в данном случае было отобрано несколько (табл.3-1).

Таблица 1

Расчетные величины максимальных значений касательной составляющей сопротивления резанию одним зубом по блокированной схеме согласно уравнению (1)

Номер опыта Порода h, м αр, град S, мм b, мм δ1, град μ, град h2, мм ξ1 φ2, град θ, град ψ, град σсм, Н/см2 τ, Н/см2 σр, Н/см2 Т, °С Р01, Н (расчет) Р01, Н (опыт) Ошибка расчета, %
1 Мерзлый песок 0,1 35 40 5 5 12 20 0,4 40 38 80 2000 300 195 –10 5350 5280 11
2 Мерзлый песок 0,2 35 40 5 5 12 25 0,4 40 38 80 2000 300 195 –15 1070 1050 10,8
3 Мерзлый суглинок 0,1 35 40 5 5 12 23 0,4 35 36 75 1800 250 180 –10 19000 20000 –8,15
4 Мерзлый суглинок 0,2 35 40 5 5 12 25 0,4 35 36 75 1800 250 180 –10 38000 37000 10,5

Таблица 2

Расчетные величины максимальных значений касательной составляющей сопротивления резанию одним зубом по глубокоблокированной схеме согласно уравнению (2)

Номер опыта Порода h, м αр, град S, мм b, мм δ1, град μ, град h2, мм φ2, град ψ, град σсм, Н/см2 τ, Н/см2 σр, Н/см2 Т, °С Р01, Н (расчет) Р01, Н (опыт) Ошибка расчета, %
1 Мерзлый песок 0,1 35 40 5 5 12 20 40 38 2000 300 195 –10 8480 8300 9,6
2 Мерзлый песок 0,2 35 40 5 5 12 25 40 38 2000 300 195 –15 16000 15900 9,7
3 Мерзлый суглинок 0,1 35 40 5 5 12 23 35 36 1800 250 180 –10 30400 30800 –9,7
4 Мерзлый суглинок 0,2 35 40 5 5 12 25 35 36 1800 250 180 –10 60800 60100 9,1

Таблица 3

Расчетные величины максимальных значений касательной составляющей сопротивления резанию одним зубом по сотовой схеме согласно уравнению (3)

Номер опыта Порода t, Т, °С σр, Н/см2 μ, град t, мм h, м S, мм αр, град δ1, град θ, град h2, мм τ, Н/см2 σсм, Н/см2 Р01, Н (расчет) Р01, Н (опыт) Ошибка расчета, %
1 Мерзлый песок –10 120 12 132 0,1 35 45 15 25 11 300 2000 19300 18000 –7,2
2 Мерзлый песок –10 120 12 300 0,2 35 45 15 25 12 300 2000 20300 19000 –6,9
3 Мерзлый песок –10 120 12 140 0,1 35 45 15 25 9 300 2000 18000 17500 –2,86
4 Мерзлый суглинок –10 120 12 350 0,2 58 45 15 25 13 300 2000 34500 32000 –7,8
5 Мерзлый суглинок -8 87 24 230 0,2 35 45 15 15 16 250 1800 6500 7000 7,1
6 Мерзлый суглинок 9 87 24 140 0,11 22 45 15 15 20 250 1800 5550 6100 9

Заключение

Разработанные аналитические зависимости определения касательной составляющей процесса резания осадочных мерзлых пород одиночным режущим инструментом дают обоснованную возможность, при известных предельных напряжениях сдвига, растяжения и смятия породы, вычислять на рабочих органах выемочных машин необходимые тяговые усилия, потребную мощность на привод и, следовательно, фактическую производительность и рентабельность выполнения работ. Приведенные аналитические зависимости позволяют получить результаты расчета с допустимыми значениями погрешности по сравнению с данными в проведенных экспериментальных исследованиях. Численные расчеты по трем выведенным аналитическим зависимостям для определения касательной составляющей сопротивления резанию, при равных параметрах режущего инструмента, толщины и ширины срезаемой стружки и прочностных свойствах породы, показывают, что при глубокоблокированном резании величина сопротивления в 1,6 раза больше, чем при блокированном, и в 2,5 раза больше, чем при сотовом. Таким образом, сотовое резание желательно использовать в машинах для разработки мерзлых осадочных пород.

Литература

  1. Субботин Ю.В., Овешников Ю.М., Авдеев П.Б. Подготовка мерзлых пород к выемке при разработке россыпных месторождений в Забайкальском крае // Горный информационно-аналитический бюллетень. 2019. № 3. С. 125-133. DOI: 10.25018/0236-1493-2019-03-0-125-133
  2. Тихонов В.А., Дудник Г.А., Панфилов С.Ю., Жуликов В.В. Особенности ведения взрывных работ при освоении минеральных ресурсов северных и арктических районов России // Горная промышленность. 2021. № 2. С. 102-106. DOI: 10.30686/1609-9192-2021-2-102-106
  3. Егоров В.В., Волокитин А.Н., Угольников Н.В., Соколовский А.В. Обоснование параметров и технологии производства буровзрывных работ, обеспечивающих требуемую кусковатость // Горная промышленность. 2021. № 3. С. 110-115. DOI: 10.30686/1609-9192-2021-3-110-115
  4. Каменев А.В. Анализ рыхления мерзлых грунтов // Научно-практические исследования. 2020. № 5-2 (28). С. 114-118.
  5. Илюхин А.В., Марсов В.И., Джабраилов Х.А., Чантиева М.Э. Особенности процессов разработки грунтов землеройно-транспортными машинами // Вестник Евразийской науки. 2018. Т. 10. № 2. № 65SAVN218.
  6. Перепелкин М.А., Мокрицкая Н.И. К вопросу о разработке рабочих органов землеройных и землеройно-транспортных машин // Горная промышленность. 2019. № 2 (144). С. 81-82. DOI: 10.30686/1609-9192-2019-2-144-81-82
  7. Третьяк А.Я., Попов В.В., Гроссу А.Н., Борисов К.А. Инновационные подходы к конструированию высокоэффективного породоразрушающего инструмента // Горный информационно-аналитический бюллетень. 2017. № 8. С. 225-230. DOI: 10.25018/0236-1493-2017-8-0-225-230
  8. Yi Liu, Feng Dai. A review of experimental and theoretical research on the deformation and failure behavior of rocks subjected to cyclic loading // Journal of Rock Mechanics and Geotechnical Engineering. 2021. Vol. 13. Iss. 5. P. 1203-1230. DOI: 10.1016/j.jrmge.2021.03.012
  9. Pebrianto R., Asof M., Susilo B.K., Gofar N. Evaluation of Factors Affecting Ripping Productivity in Open Pit Mining Excavation // Electronic Journal of Geotechnical Engineering. 2014. Vol. 19. Bund. Z3. P. 10447-10456.
  10. Ивкин В.С., Волынщиков П.Ю. Разработка мерзлых грунтов при выполнении работ в стесненных условиях строительства // Вестник Ульяновского государственного технического университета. 2013. № 2 (62). С. 62-66.
  11. Шемякин С.А., Гамоля Ю.А., Чебан А.Ю. Технико-технологические решения разработки мерзлых и крепких пород в горном деле и строительстве. Хабаровск: Изд-во ДВГУПС, 2017. 188 с.
  12. Бурый Г.Г., Потеряев И.К., Скобелев С.Б., Ковалевский В.Ф. Повышение производительности одноковшового гидравлического экскаватора за счет ковша новой конструкции // Известия Тульского государственного университета. Технические науки. 2019. Вып. 9. С. 12-19.
  13. Жабин А.Б., Поляков А.В., Аверин Е.А. и др. Пути развития теории разрушения углей и горных пород резцовым инструментом // Уголь. 2019. № 9 (1122). С. 24-28. DOI: 10.18796/0041-5790-2019-9-24-28
  14. Xinzhong Wang, Weiquan Fang, Dianlei Han, Xuegeng Chen. Review of the Research on Soil Disturbance by Tools // Applied Sciences. 2023. Vol. 13. Iss. 1. № 338. DOI: 10.3390/app13010338
  15. Feng Hou, Yuanming Lai, Enlong Liu et al. A creep constitutive model for frozen soils with different contents of coarse grains // Cold Regions Science and Technology. 2018. Vol. 145. P. 119-126. DOI: 10.1016/j.coldregions.2017.10.013
  16. Шемякин С.А., Шишкин Е.А. Аналитические теории определения сопротивлений резанию (рыхлению) горных пород и их применение в практике расчета землеройной техники. Хабаровск: Изд-во Тихоокеанского государственного университета, 2014. 144 с.
  17. Kyznetsova V.N., Savinkin V.V., Ratushnaya T.Y. et al. Study of the Spatial Distribution of Forces and Stresses on Wear Surfaces at Optimization of the Excavating Part of an Earthmoving Machine Transverse Profile // Coatings. 2021. Vol. 11. Iss. 2. № 182. DOI: 10.3390/coatings11020182
  18. Шемякин С.А., Чебан А.Ю. Определение сопротивления резанию мерзлых пород глубокоблокированным (щелевым) способом // Горное оборудование и электромеханика. 2015. № 6. С. 39-44.
  19. Шемякин С.А. Обоснование эффективных технологий открытых горных работ на основе совершенствования процесса выемки пород: Автореф. дис. ... д-ра техн. наук. Хабаровск: Институт горного дела ДВО РАН, 2004. 34 с.
  20. Aresh B., Khan F.N., Haider J. Experimental investigation and numerical simulation of chip formation mechanisms in cutting rock-like materials // Journal of Petroleum Science and Engineering. 2022. Vol. 209. № 109869. DOI: 10.1016/j.petrol.2021.109869
  21. Кузнецова В.Н. Физическое моделирование процесса контактного взаимодействия рабочего органа землеройной машины с мерзлым грунтом // Вестник Томского государственного университета. Математика и механика. 2019. № 61. С. 70-81. DOI: 10.17223/19988621/61/7
  22. Xuezhen Wang, Sen Zhang, Hongbo Pan et al. Effect of soil particle size on soil-subsoiler interactions using the discrete element method simulations // Biosystems Engineering. 2019. Vol. 182. P. 138-150. DOI: 10.1016/j.biosystemseng.2019.04.005
  23. Желукевич Р.Б., Селиванов Н.И., Кайзер Ю.Ф., Лысянников А.В. Определение усилий, возникающих на дисковом резце при блокированном резании мерзлых грунтов // Известия Тульского государственного университета. Технические науки. 2015. Вып. 8. Ч. 2. С. 66-78.
  24. Кузнецова В.Н., Кузнецов И.С. Моделирование процесса контактного взаимодействия рабочих органов землеройных и землеройно-транспортных машин с мерзлым грунтом // Вестник СибАДИ. 2018. Т. 15. № 2 (60). С. 189-198. DOI: 10.26518/2071-7296-2018-2-189-198
  25. Hu M., Gao T., Dong X et al. Simulation of soil-tool interaction using smoothed particle hydrodynamics (SPH) // Soil and Tillage Research. 2023. Vol. 229. № 105671. DOI: 10.1016/j.still.2023.105671
  26. Tekeste M.Z., Way T.R., Syed Z., Schafer R.L. Modeling soil-bulldozer blade interaction using the discrete element method (DEM) // Journal of Terramechanics. 2020. Vol. 88. P. 41-52. DOI: 10.1016/j.jterra.2019.12.003
  27. Трояновская И.П., Разношинская А.В., Козьминых В.А., Лещенко Е.А. Экспериментальные исследования процесса промышленного рыхления грунта // Горный журнал. 2021. № 5. С. 87-90. DOI: 10.17580/gzh.2021.05.11
  28. Rashidov T., Djuraeva N., Atamirzayev M., Normuminov B. Strain state agrogenic soil under its interaction with a deep ripper // IOP Conference Series: Materials Science and Engineering. 2020. Vol. 896. № 012109. DOI: 10.1088/1757-899X/896/1/012109
  29. Ucgul M., Saunders C., Fielke J.M. Comparison of the discrete element and finite element methods to model the interaction of soil and tool cutting edge // Biosystems Engineering. 2018. Vol. 169. P. 199-208. DOI: 10.1016/j.biosystemseng.2018.03.003
  30. Шемякин С.А., Шишкин Е.А. Физико-математическая модель разрушения горных пород зубом фрезерной установки // Записки Горного института. 2021. Т. 251. С. 639-647. DOI: 10.31897/PMI.2021.5.3
  31. Yadav S., Saldana C., Murthy T.G. Experimental investigations on deformation of soft rock during cutting // International Journal of Rock Mechanics and Mining Sciences. 2018. Vol. 105. P. 123-132. DOI: 10.1016/j.ijrmms.2018.03.003
  32. Николаев В.А. Расчет затрат энергии на резание грунта горизонтальным лезвием путем анализа процесса // Научно-технический вестник Брянского государственного университета. 2019. № 2. С. 243-250. DOI: 10.22281/2413-9920-2019-05-02-243-250
  33. Katinas E., Chotěborský R., Linda M., Jankauskas V. Wear modelling of soil ripper tine in sand and sandy clay by discrete element method // Biosystems Engineering. 2019. Vol. 188. P. 305-319. DOI: 10.1016/j.biosystemseng.2019.10.022
  34. Makange N.R., Changying Ji, Nyalala I. et al. Prediction of precise subsoiling based on analytical method, discrete element simulation and experimental data from soil bin // Scientific Reports. 2021. Vol. 11. № 11082. DOI: 10.1038/s41598-021-90682-w
  35. Cviklovič V., Mojžiš M., Majdan R. et al. Data Acquisition System for On-the-Go Soil Resistance Force Sensor Using Soil Cutting Blades // Sensors. 2022. Vol. 22. Iss. 14. № 5301. DOI: 10.3390/s22145301
  36. Бояркина И.В. Удельная энергоемкость процессов копания грунтов и материалов ковшом технологической машины // Омский научный вестник. 2017. № 2 (152). С. 5-7.
  37. Hegde A., Murthy T.G. Experimental studies on deformation of granular materials during orthogonal cutting // Granular Matter. 2022. Vol. 24. Iss. 3. № 70. DOI: 10.1007/s10035-022-01227-5
  38. Hegde A., Murthy T. An experimental study on shear bands in sand using the orthogonal cutting setup // EPJ Web of Conferences. 2021. Vol. 249. № 10007. DOI: 10.1051/epjconf/202124910007
  39. Aresh B., Khan F.N., Haider J. Experimental investigation and numerical simulation of chip formation mechanisms in cutting rock-like materials // Journal of Petroleum Science and Engineering. 2022. Vol. 209. № 109869. DOI: 10.1016/j.petrol.2021.109869
  40. Zaied M.B., El Naim A.M., Abdalla O.A., Sulieman A.M. Effect of Tine Depth and Width on Soil Failure Angle, Cutting Coefficients and Power in Three-Dimensional Case: Computer Modeling // World Journal of Agricultural Research. 2016. Vol. 4. № 1. P. 24-30. DOI: 10.12691/wjar-4-1-4
  41. Masch F.R., Hecker R.L., Flores G.M. et al. On-the-go sensor with embedded load cells for measuring soil mechanical resistance // Ciencia del Suelo. 2020. Vol. 38. № 1. P. 21-28.

Похожие статьи

Влияние механической и тепловой обработки на характеристики сапонитсодержащего материала
2025 Т. Н. Орехова, М. Н. Сивальнева, М. А. Фролова, В. В. Строкова, Д. О. Бондаренко
Лабораторные исследования особенностей гидравлического разрыва пересекающихся скважин в неоднородном поле напряжений
2025 А. В. Патутин, А. А. Скулкин, Л. А. Рыбалкин, А. Н. Дробчик
Государственно-частное партнерство в минерально-сырьевом комплексе РФ: как реализовать классическую модель?
2025 С. М. Лавлинский, А. А. Панин, А. В. Плясунов
Палеопротерозойский Салтахский плутон (Анабарский щит): вещественный состав, возраст, геодинамическая обстановка формирования
2025 Н. И. Гусев, Л. Ю. Романова
Загрязнение ртутью речных отложений водораздела реки Сиухунь в Индонезии: вклад кустарной мелкомасштабной добычи золота
2025 Вилли К. Нуграха, Хуйхо Чон, Фан Динь Куан, Рэнди Новирса, Томохиро Коморита, Ясухиро Исибаси, Дзюн Кобаяси, Кодзи Аризоно, Асеп Баю Дани Нандиянто
Определение потенциала удароопасности горных пород Норильского промышленного района
2025 А. П. Господариков, М. А. Зацепин, А. П. Киркин